доктор физико-математических наук
Тел. (3822) 49 19 71
Факс (3822) 49 24 10
E-mail: korolev@hcei.ru
Назначение
Псевдоискровые разрядники
разработаны в Институте сильноточной электроники совместно с научно-производственным предприятием "Импульсные технологии", г. Рязань, на основе фундаментальных исследований в области физики газового разряда.
Приборы предназначены для коммутации сильноточных высоковольтных импульсов в нано- и микросекундном диапазоне времен и могут использоваться в качестве ключевых элементов в источниках питания лазеров, установках для получения плазменного фокуса, установках по очистке воды и газов, медицинской аппаратуре, геологии, нефтедобыче и т.д.
Краткое описание и технико-экономические показатели
На фотографии показано семейство псевдоискровых разрядников.
Приборы изготавливаются в отпаянном виде и имеют керамический корпус, что обуславливает их высокую механическую прочность. Рабочее давление газа в коммутаторе обеспечивается встроенным генератором водорода. Принцип действия приборов основан на разряде низкого давления, возбуждаемом в системе с полыми электродами. Использование данной формы разряда наряду с оригинальными конструкциями электродов и узлов поджига позволило получить следующие уникальные характеристики приборов:
- крутизна нарастания коммутируемого тока до 1012 А/с
- стабильность срабатывания ~ 1 нс
- полный заряд, скоммутированный прибором, до выхода из строя до 106 Кл


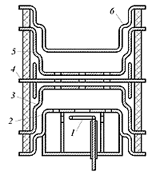
Схема псевдоискрового разрядника ТДИ1-150к/25.
1 - керамический корпус, 2 - катод, 3 - анод, 4 - катодный фланец, 5 - анодный фланец, 6 - генератор водорода, 7 - верхний фланец, 8 - экран, 9-11 - узел поджига, 12 - катодная полость.


Схема псевдоискрового разрядника ТПИ1-10к/50.
1 - анод вспомогательного тлеющего разряда, 2 - полый катод вспомогательного тлеющего разряда, 3 - основной катод, 4 - промежуточный (заземленный) электрод, 5 - основной анод, 6 - потенциальный анод.
В настоящее время выпускается около 10 типов псевдоискровых разрядников, позволяющих коммутировать токи от 100 А до 150 кА. при напряжении до 100 кВ.
| Тип | Анодное напряжение, кВ | Максимальный анодный ток, кА | Средний ток, А |
Габариты (диам. Н, мм) |
Ресурс, S Q, К |
Максимальная частота, кГц |
|---|---|---|---|---|---|---|
| ТДИ1-50k/16 | 5÷16 |
50
|
0.15 | 50x52 | 105 | 0.1 |
| ТДИ1-50k/25 | 5÷25 |
50
|
0.25 | 98x80 | 2x105 | 0.1 |
| ТДИ1-50k/50 | 5÷50 |
50
|
0.25 | 98x88 | 2x105 | 0.1 |
| ТДИ1-150k/25 | 5÷25 | 150 | 0.5 | 118x50 | 5x105 | 0.1 |
| ТПИ1-0.2k/12 | 1÷12 | 0.2 | 0.03 | 25x22 | 106 | 2.5 |
| ТПИ1-1k/20 | 1÷20 | 0.2 | 0.05 | 25x22 | 106 | 2.0 |
| ТПИ3-10k/25 | 1÷25 | 10 | 0.2 | 25x22 | 106 | 1.0 |
| ТПИ1-10k/25 | 1÷25 | 10 | 0.5 | 25x22 | 106 | 2.0 |
| ТПИ1-10k/50 | 1÷50 | 10 | 0.3 | 25x22 | 106 | 2.0 |
Основные преимущества
В отличие от искровых и вакуумных коммутаторов, а также мощных водородных тиратронов псевдоискровые разрядники обладают следующей совокупностью свойств:
- возможность коммутировать импульсы тока положительной и отрицательной полярности
- возможность работы как при положительном, так и при отрицательном напряжении, подаваемом на анод
- высокая стабильность срабатывания
- продолжительный срок службы
- относительно невысокая цена
- простота конструкции
Аналоги
По своим параметрам наиболее близко к псевдоискровым разрядникам расположены мощные водородные тиратроны и тиратроны с заземленной сеткой, выпускаемые фирмами EEV (Великобритания) и EG&G (США).
Однако, данные приборы обладают существенно более высокой ценой.
Защищенность разработки:
Приборы защищены авторскими свидетельствами и патентами Российской Федерации.
Уровень разработки
Выпускается около 10 модификаций разрядников. В настоящее время продолжаются исследования разрядов низкого давления и проводятся опытно-конструкторские работы, направленные на улучшение параметров приборов.
Данные исследования получили поддержку NATO в программе "Наука для мира" Science for Peace Programme (название гранта: Исследование псевдоискрового разряда и разработка новых типов сильноточных коммутаторов на его основе. Номер проекта SfP 972580).
В работе по проекту участвуют Институт сильноточной электроники (Томск, Россия), Эрлангенский университет (Erlangen, Germany) и НПО "Плазма" (Рязань, Россия).
Конечный пользователь
В.Д. Бочков, д.т.н.
Научно-производственное предприятие "Импульсные технологии"
Россия
390023 Рязань
ул. Яблочковой, 5
Тел.: (4912) 24-05-19
Факс: (4912) 24-92-17
E-mail: info@pulsetech.ru
E-mail: pulsetech@mail.ru
Предложения по сотрудничеству
Предлагаются следующие виды сотрудничества:
- проведение совместных работ по исследованию процессов, протекающих в газовых разрядах низкого давления
- осуществление консультаций по выбору типов коммутирующих элементов для сильноточных импульсных установок
- продажа разрядников и адаптация приборов к схемам потребителей

